登录注册

用户中心

米内网官方微信:米内网 menetwx

(微信中常按图片识别二维码)

齐鲁制药1类新药来袭!抢攻630亿市场

来源:米内网原创2025-09-05

近日,CDE官网显示,齐鲁制药申报的化药1类新药QLS1410片获得临床试验默示许可,拟用于治疗未受控制的高血压。米内网数据显示,2024年中国三大终端六大市场(统计范围详见本文末)高血压化药销售额超过630亿元。今年以来,齐鲁制药有1款改良型新药首次获批上市,6款1类新药首次获批临床等。

QLS1410片是齐鲁制药开发的一款化药1类新药,其临床申请于今年7月29日获得CDE承办受理,并于9月2日顺利获批临床,拟用于治疗未受控制的高血压。9月4日,药物临床试验登记与信息公示平台数据显示,该药已启动I期临床,临床试验登记号为CTR20253578,进展堪称神速。

米内网数据显示,2024年中国三大终端六大市场高血压化药销售额超过630亿元,2025年一季度超过160亿元,同比略有增长。从细分终端销售看,公立医院(城市公立医院+县级公立医院)为“主战场”,占比超过50%。

近年来中国三大终端六大市场高血压化药销售情况(单位:万元)
来源:米内网格局数据库

从治疗小类看,高血压化药以钙通道阻滞剂(以地平类药物为代表)为主,但其市场份额呈逐年递减态势;高血压复方制剂排位第二,2025年一季度市场份额已增长至超27%;作用于肾素-血管紧张素系统的药物(以沙坦类药物为代表)排位第三。

在高血压领域,齐鲁制药拥有9个品种的生产批文,其中盐酸艾司洛尔注射液、卡维地洛片2024年在中国三大终端六大市场的销售额分别超过9亿元、1亿元。QLS1410片是公司首款申报IND且获批进入临床阶段的高血压1类新药。

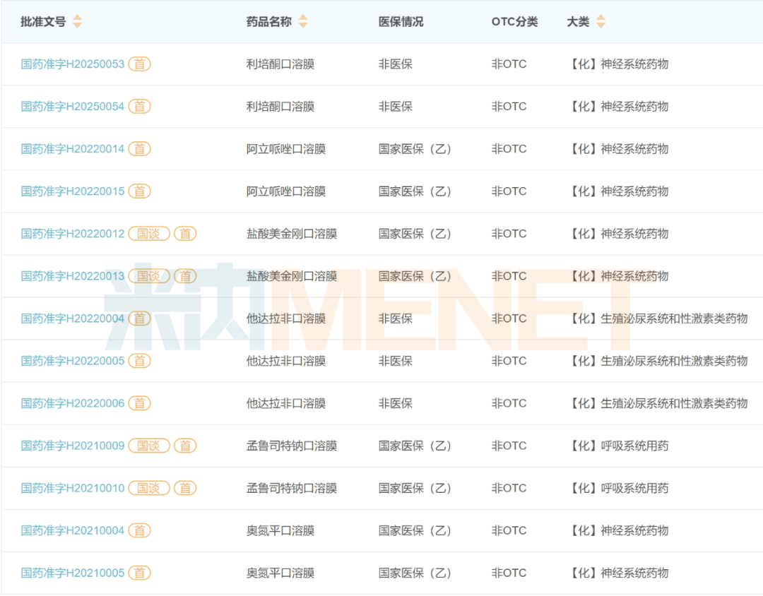
今年以来,齐鲁制药有1款2.2类改良型新药获批上市,为利培酮口腔溶解薄膜。此前,公司已有奥氮平口溶膜、孟鲁司特钠口溶膜、他达拉非口溶膜、阿立哌唑口溶膜、盐酸美金刚口溶膜等多款口溶膜产品获批上市,领跑国内其他企业。

齐鲁制药获批上市的口溶膜产品
来源:米内网中国上市药品(MID)数据库

此外,12款1类新药在国内获批临床,集中在抗肿瘤、自身免疫两大治疗领域,其中QLS1304片、QLS12010胶囊、QLS1209片、注射用QLS5132、注射用QLS5133、QLS1410片均为首次获批临床,且目前均已启动临床。

今年以来齐鲁制药获批临床的1类新药
注:标*为首次获批

来源:米内网中国申报进度(MED)数据库
注:米内网《中国三大终端六大市场药品竞争格局》,统计范围:城市公立医院和县级公立医院、城市社区中心和乡镇卫生院、城市实体药店和网上药店,不含民营医院、私人诊所、村卫生室,不含县乡村药店;上述销售额以产品在终端的平均零售价计算。数据统计截至9月5日,如有疏漏,欢迎指正!

推荐阅读: