登录注册

用户中心

米内网官方微信:米内网 menetwx

(微信中常按图片识别二维码)

科伦药业发威,成功拿下17亿大品种

来源:米内网原创2026-03-10

3月6日,国家药监局发布药品获批信息,科伦药业的艾拉莫德片顺利获批。艾拉莫德是抗炎药和抗风湿药热销品种,近六年保持高速增长态势,2025年Q1-Q3在中国三大终端六大市场的销售额超过了17亿元。据统计,今年以来科伦药业已累计获批了4个仿制药新品。

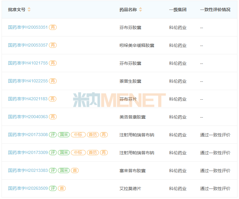
图1:科伦药业获批产品情况
来源:米内网中国申报进度(MED)数据库

艾拉莫德片是先声药业在2011年获批的化药1.1类新药,通过抑制免疫相关细胞活性及炎症因子释放,改善关节症状并延缓病情进展,主要用于活动性类风湿关节炎的治疗。米内网数据显示,2024年6月江苏正大清江制药拿下了该产品的国内首仿,目前该产品的仿制药上市企业已达11家。

图2:艾拉莫德的销售情况(单位:万元)
来源:米内网格局数据库

在中国三大终端六大市场(统计范围见文末),艾拉莫德上市以来一直保持正增长态势,2022年首次突破10亿元关口,2024年起在仿制药的助力下,该品种的整体销售额连续高速增长超过20%,2025年Q1-Q3已超过17亿元,全年有望再创新高。

图3:科伦药业获批上市的抗炎药和抗风湿药
来源:米内网中国上市药品(MID)数据库

截至目前,科伦药业在抗炎药和抗风湿药市场已获批了注射用帕瑞昔布钠、塞来昔布胶囊、艾拉莫德片等8个产品。

表1:2026年至今科伦药业获批的仿制药新品
来源:米内网中国申报进度(MED)数据库

今年以来,科伦药业已累计获批了四个仿制药新品,2025年Q1-Q3年在中国三大终端六大市场,盐酸曲唑酮片的销售额接近6亿元,氯化钙注射液的销售额超过1.3亿元……科伦药业重磅产品接连获批,既丰富了公司的产品矩阵,也将助力公司提升竞争力。

图4:科伦药业今年以来申报上市的仿制药新品
来源:米内网中国申报进度(MED)数据库

值得注意的是,科伦药业已针对多款国产原研药发起了进攻。今年以来,公司报产的仿制药新品中,依达拉奉右莰醇注射用浓溶液是先声药业2020年获批的化药1类新药,而注射用磷酸左奥硝唑酯二钠则是扬子江药业2021年获批的化药1类新药。

资料来源:米内网数据库
注:米内网《中国三大终端六大市场药品竞争格局》,统计范围:城市公立医院和县级公立医院、城市社区中心和乡镇卫生院、城市实体药店和网上药店,不含民营医院、私人诊所、村卫生室,不含县乡村药店;上述销售额以产品在终端的平均零售价计算。数据统计截至3月8日,如有疏漏,欢迎指正!

推荐阅读: