登录注册

用户中心

米内网官方微信:米内网 menetwx

(微信中常按图片识别二维码)

东阳光药发威,夺$30亿明星药国内首仿

来源:米内网原创2025-10-14

近日,东阳光药的盐酸芬戈莫德胶囊成功获批,为国内首仿。芬戈莫德是全球首个治疗多发性硬化症(MS)的口服药物,其全球销售额曾在2016-2020年均超过30亿美元。东阳光药是芬戈莫德首家申报仿制上市并获批的国内药企,同时该产品也是公司首款口服免疫抑制剂。

图1:东阳光药最新获批的产品
来源:国家药监局官网

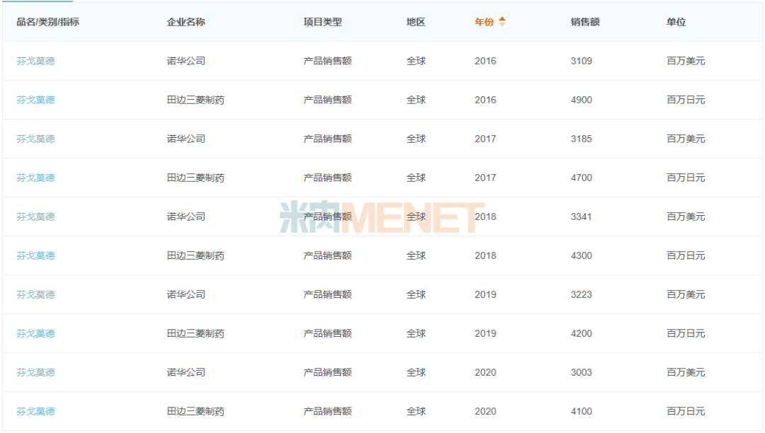
图2:2016-2020年芬戈莫德的全球销售情况
来源:米内网跨国上市公司数据库

芬戈莫德是全球首个治疗多发性硬化症(MS)的口服药物,由诺华和日本三菱制药共同开发,2010年获美国FDA批准上市,全球销售额在2016-2020年保持在30亿美元以上。

图3:申报芬戈莫德上市的企业情况
来源:米内网中国申报进度(MED)数据库

原研的盐酸芬戈莫德胶囊在2019年获批进入中国市场,随后在2020年进入国家医保谈判目录,现为2024版国家医保常规目录品种,限10岁及以上患者复发型多发性硬化(RMS)的患者。

仿制药方面,广东东阳光药业在2020年首家申报仿制上市,并在近期获批国内首仿+首家过评,北京康蒂尼药业的受理号并未获批,印度瑞迪博士实验室的进口5.2类正在审评审批中。

米内网数据显示,在免疫抑制剂市场,东阳光药在2008年获批了注射用吗替麦考酚酯,本次获批的盐酸芬戈莫德胶囊是公司第二款免疫抑制剂。

表1:东阳光药今年以来获批的新品
来源:米内网中国申报进度(MED)数据库

今年以来,东阳光药已累计获批了2个化药1类新药、2个高端仿制药。磷酸萘坦司韦胶囊与艾考磷布韦片联用,治疗初治或干扰素经治的基因1、2、3、6型成人慢性丙型肝炎病毒(HCV)感染,可合并或不合并代偿性肝硬化。舒更葡糖钠注射液是公司首款其它所有治疗用药品,盐酸芬戈莫德胶囊是公司首款口服免疫抑制剂。

资料来源:国家药监局官网、米内网数据库

推荐阅读: